Leksikografski zavod Miroslav Krleža Frankopanska 26, Zagreb tel.: +385 1 4800 332 tel.: +385 1 4800 392 fax.: +385 1 4800 399
urednistvoHE@lzmk.hr
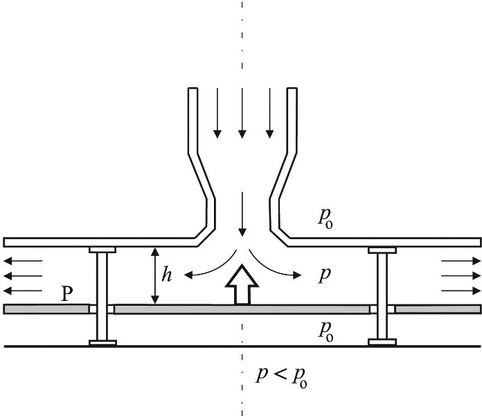
hidrodinamički paradoks, pojava smanjenja tlaka fluida (tekućine ili plina) izazvana njegovim strujanjem. Struji li npr. zrak iz sapnice, kojoj je ušće obrubljeno pločom, tako da mlaz udara u pomičnu ploču i širi se, tada će pri određenome razmaku ploča biti privučena prema sapnici, a ne odbijena, kako se očekuje. Do te pojave dolazi zbog toga što je brzina strujanja u sredini ploče veća nego na rubovima, pa je tlak između ploča manji od izvanjskoga.
hidrodinamički paradoks. Hrvatska enciklopedija, mrežno izdanje. Leksikografski zavod Miroslav Krleža, 2013. – 2025. Pristupljeno 7.12.2025. <https://www.enciklopedija.hr/clanak/hidrodinamicki-paradoks>.